Pièces Détachées
OK
Accueil
Compte
Votre panier
0,00 €
0
Boutique
A Propos
Contacts
Actualités
Eclatés techniques
Déstockage
Annonces
Boutique
Catalogue des Marques
Rielda S.R.L
Rielda Serrature
Marques
Bianchi
Lavazza
Rhéavendors
Saeco
Tecnomatic
Trial
N&W Gobal Vending
Vendo - Sanden
Informations
Actualités
Inscription
FAQ
Témoignages
Services
Tél : 01 40 92 95 95
DIFCAA
7 Avenue Descartes
92350 - Le Plessis Robinson
Éclatés techniques
Rechercher
Retour aux éclatés techniques
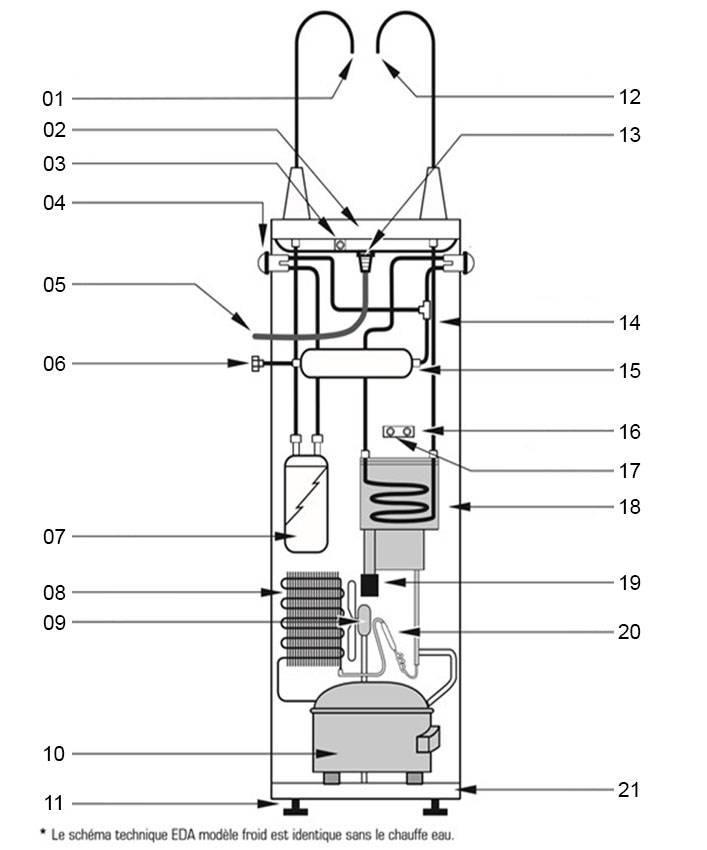
Eda
num;sku
1;EDA41100392
2;
3;EDA22001020
4;EDA41100003
4;EDA41100004
5;EDA42001000
6;
7;EDA11002357
8;
9;
10;
11;EDA47100008
12;EDA41100393
13;EDA41102000
14;EDA42002022
15;
16;EDA11000044
17;EDA11000056
18;
19;EDA11001277
20;
21;
EDAFIM
EDAFIM