Pièces Détachées
OK
Accueil
Compte
Votre panier
0,00 €
0
Boutique
A Propos
Contacts
Actualités
Eclatés techniques
Déstockage
Annonces
Boutique
Catalogue des Marques
Rielda S.R.L
Rielda Serrature
Marques
Bianchi
Lavazza
Rhéavendors
Saeco
Tecnomatic
Trial
N&W Gobal Vending
Vendo - Sanden
Informations
Actualités
Inscription
FAQ
Témoignages
Services
Tél : 01 40 92 95 95
DIFCAA
7 Avenue Descartes
92350 - Le Plessis Robinson
Éclatés techniques
Rechercher
Retour aux éclatés techniques
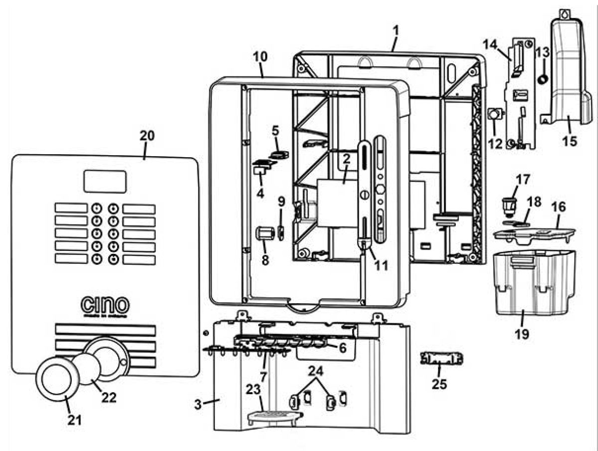
06 - Porte pour accepteur
CINO EC I
num;sku
1;R0020037657NA
2;R0020037659
3;R0020037652CM
4;RSCH0005860
5;R0020040310CL
6;R0020039078TR
7;RSCH0008141
8;RSER0000028
9;R0010028157
10;R0020037653CM
11/a;R0020035031CM
11/b;R0020035031NA
12/a;R0020035033CM
12/b;R0020035033NA
13;R0020035034
14;R0020035032NA
15;R0020037656NA
16;R0030010212NA
17;RSER0000015
18;R0020037128
19;R0030010211NA
20/a;R0020037531
20/b;R0020037539
20/c;R0020037548
20/d;R0020037549
21;R0020039084CL
22/a;R0020039101
22/b;R0020039118
23/a;R0020039072TR-01
23/b;R0020039072NA-01
24/a;R0020039073CM
24/b;R0020039073NA
25;R0020039087IC
100;RD1019600A0000
101;RD1019600A1000
CINO EC I